Hochwasserschutz aus Aluminium für Türen und Garagen
Diese
Hochwasserschutzbarriere aus Aluminium ist die ideale Lösung zum Schutz von Wohnhäusern, Garagen und Gewerbeimmobilien vor Überschwemmungen, Starkregen und Überlaufen.
Die Hochwasserschutzbarriere ist für die einfache Selbstmontage konzipiert und erfordert keine Maurerarbeiten. Ihr exklusives Dichtungssystem gewährleistet eine
extrem effektive, wasserdichte Abdichtung.
Hergestellt in Italien.
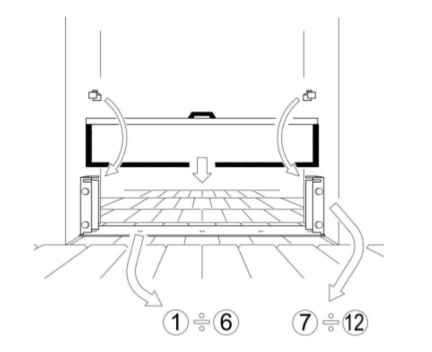
Diese
Tür-Hochwasserschutzbarriere ist an drei Seiten mit speziellen Dichtungen ausgestattet, die auch unter Druck wasserdicht sind:
- doppelseitige Bodendichtung;
- elastische Seitendichtungen, die in ihre ursprüngliche Form zurückkehren;
- Hochwertige Materialien, alle leicht austauschbar.
Das
manuelle System ermöglicht ein müheloses Zusammendrücken der Dichtungen und gewährleistet so einen wirksamen Schutz auch gegen geringfügige Infiltrationen.
Ideal für:
- Türen von Privathäusern;
- Garage;
- Geschäfte und Gewerberäume;
- Gebiete, die von Überschwemmungen und starken Regenfällen betroffen sind.

Hauptvorteile von Hochwasserschutzbarrieren
- robuste und leichte Hochwasserschutzbarriere aus Aluminium;
- ideal als Hochwasserschutz für Türen und Garagen ;
- vertikales und horizontales Dichtungskompressionssystem ;
- Um Messfehler zu vermeiden, ist eine Toleranz von 2 cm bei den Messungen einzuhalten.
- schnelle und einfache Selbstmontage ;
- herausnehmbare Trennwand : Sie bleibt nur bei Bedarf eingebaut.

Technische Merkmale der Hochwasserschutzbarriere
- Hochwasserschutzbarriere aus modularen Aluminiumlamellen;
- Seitliche Stützen aus verzinktem Stahl;
- integrierter Tragegriff;
- Dichtungsspannsystem;
- schnelle Installation und sofortige Einsatzbereitschaft;
- Standard-Schottwandfarbe eloxiertes Silber;
- 5x5 cm verzinkte Stahlprofile;
- Hydraulik-Dichtheitsprüfung;
- Extrem leicht (Gewicht ca. 14,3 kg pro m²);
Das Produkt wurde von Ingenieuren, die auf den Bereich der hydraulischen Druckbeständigkeit spezialisiert sind, patentiert und zertifiziert .

Schnelle und einfache Installation
Die Trennwand wird als
vormontierter Bausatz geliefert. Für die Montage benötigen Sie lediglich Folgendes:
- Die beiden seitlichen Stützen an den Pfosten der Wand befestigen;
- Silikon entlang des Umfangs der Führungen verteilen;
- Mit den mitgelieferten Schrauben befestigen.
Sobald die Führungen montiert sind, ist die Hochwasserschutzbarriere einsatzbereit:
Bei Bedarf wird sie in die Führungen eingesetzt und die Knöpfe werden gedreht , um die Dichtungen zu spannen.
Inhalt des Hochwasserschutz-Sets
- 1 Aluminium-Flutabdichtung;
- 1 Paar „U“-förmige Seitenstützen;
- Befestigungsschrauben und Dübel;
- Schwellenprofil (nützlich bei unebenen Fahrbahnen).
Für die Installation benötigte Ausrüstung
- bohren;
- Schraubendreher;
- Silikon.
